
1

2

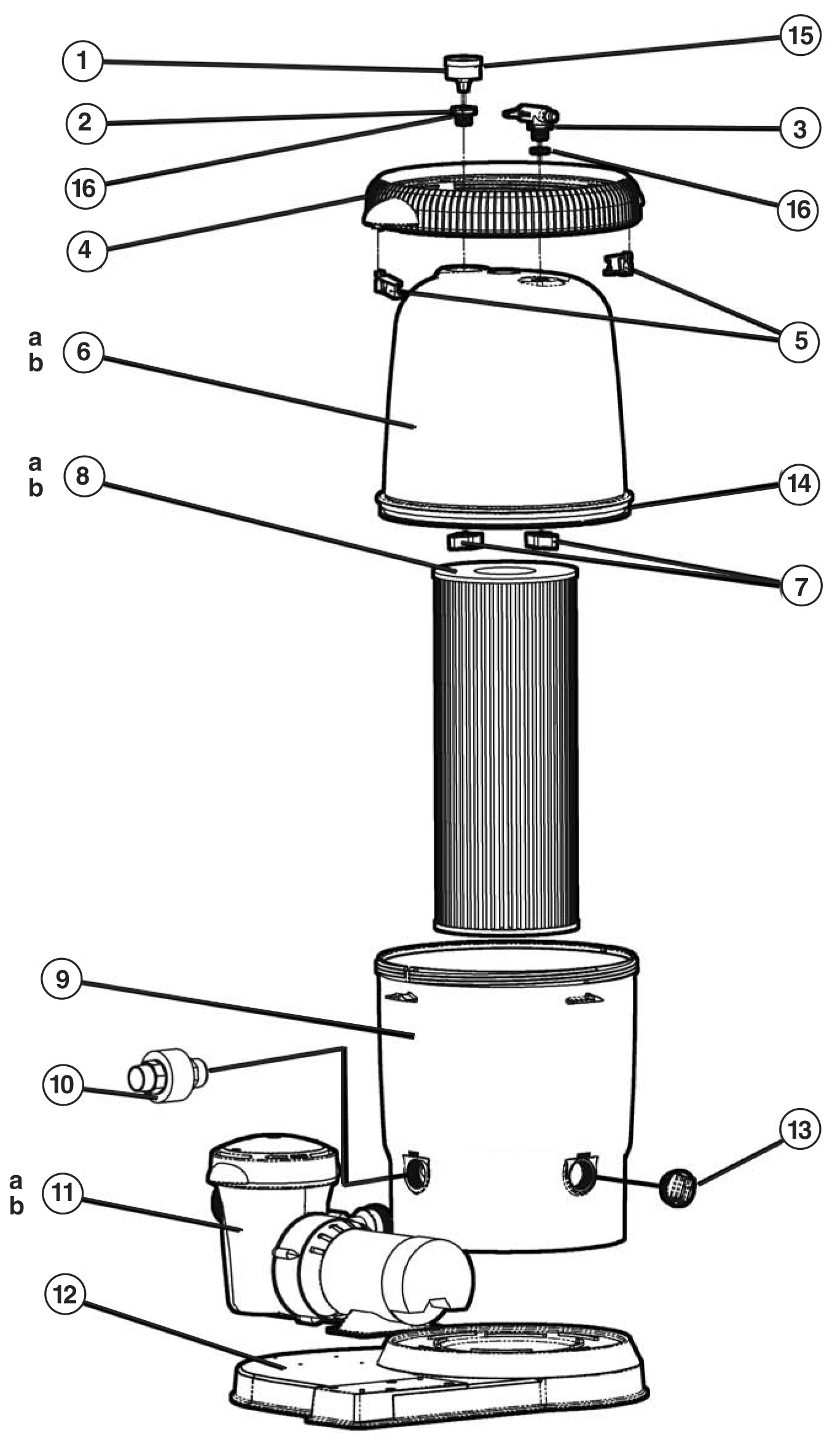
THRD. ADAPTER FOR PRESSURE GAUGE
HAYWARD INDUSTRIES INC. #CCX1000L (Part #2)
Manufacturer SKU: CCX1000L
4

6a

8a

CARTRIDGE 8 15/16" X 17 3/8" 100 SQ FT
FILBUR MANUFACTURING LLC #APCC7207 (Part #8a)
Manufacturer SKU: FC-1285
9

10

12

15

3

5

14
